ESP32-S3 là vi điều khiển (SoC) lõi kép được thiết kế tối ưu cho các ứng dụng AIoT (Artificial Intelligence of Things). Điểm nổi bật nhất của nó so với các thế hệ trước là khả năng hỗ trợ tập lệnh vector để tăng tốc xử lý mạng nơ-ron và tác vụ xử lý tín hiệu. Board mạch ESP32-S3-EYE là một kit phát triển phần cứng dựa trên chip ESP32-S3, tích hợp sẵn Camera và Màn hình, chuyên dùng để phát triển các ứng dụng nhận diện hình ảnh và xử lý giọng nói tại biên (Edge AI) mà không cần gửi dữ liệu về đám mây.
ESP32-S3 và board mạch S3-EYE là sự lựa chọn lý tưởng để học tập và nghiên cứu về TinyML/AIoT. Với sự hỗ trợ của framework ESP-WHO và ESP-DL (thư viện Deep Learning của Espressif), bạn có thể triển khai các mô hình AI trực tiếp lên vi điều khiển với chi phí thấp và hiệu năng cao.
I. ESP32-S3
1.1. Tổng quan
ESP32-S3 là vi điều khiển (MCU) lõi kép XTensa LX7, có khả năng hoạt động ở tần số 240 MHz. Ngoài 512 KB SRAM nội bộ, chip còn được tích hợp kết nối Wi-Fi 2.4 GHz (802.11 b/g/n) và Bluetooth 5 (LE) với khả năng hỗ trợ kết nối xa. Vi điều khiển này sở hữu 45 chân GPIO có thể lập trình và hỗ trợ một tập hợp phong phú các thiết bị ngoại vi. ESP32-S3 hỗ trợ flash SPI tám đường (octal SPI flash) tốc độ cao và dung lượng lớn, cũng như PSRAM với bộ nhớ đệm (cache) dữ liệu và lệnh có thể cấu hình.

Hình 1. Sơ đồ khối (Block Diagram) của chip vi điều khiển ESP32-S3
Hỗ trợ tăng tốc AI: ESP32-S3 được bổ sung hỗ trợ các tập lệnh vector (vector instructions) trong MCU, mang lại khả năng tăng tốc cho các tác vụ tính toán mạng nơ-ron và xử lý tín hiệu. Các nhà phát triển có thể tận dụng các tập lệnh vector này thông qua các thư viện ESP-DSP và ESP-NN để tối ưu hóa ứng dụng của mình. Các SDK như ESP-WHO và ESP-Skainet cũng sẽ hỗ trợ khả năng tăng tốc này.
Kết nối không dây: ESP32-S3 hỗ trợ Wi-Fi 2.4 GHz (802.11 b/g/n) với băng thông hỗ trợ lên đến 40 MHz. Phân hệ Bluetooth Low Energy hỗ trợ phạm vi xa thông qua Coded PHY và mở rộng quảng bá (advertisement extension). Nó cũng hỗ trợ tốc độ truyền tải và thông lượng dữ liệu cao hơn với 2 Mbps PHY. Cả Wi-Fi và Bluetooth LE đều có hiệu suất RF vượt trội, duy trì ổn định ngay cả ở nhiệt độ cao.
Ngoại vi: ESP32-S3 có 45 GPIO lập trình được, hỗ trợ SPI, I2S, I2C, PWM, RMT, ADC, UART, SD/MMC host và TWAI™. Tổng cộng, 14 GPIO có thể được cấu hình làm đầu vào cảm ứng điện dung cho các ứng dụng giao diện người – máy (HMI). Ngoài tất cả các ngoại vi này, ESP32-S3 còn được trang bị một lõi tiêu thụ năng lượng siêu thấp (ULP core), hỗ trợ nhiều chế độ năng lượng thấp cho đa dạng các trường hợp sử dụng.
Bảo mật: ESP32-S3 cung cấp tất cả các yêu cầu bảo mật cần thiết để xây dựng các thiết bị kết nối an toàn mà không cần thêm phần cứng hỗ trợ bên ngoài. Nó hỗ trợ mã hóa flash dựa trên thuật toán AES-XTS, khởi động an toàn (secure boot) dựa trên RSA, chữ ký số và HMAC. ESP32-S3 cũng có ngoại vi “World Controller” cung cấp hai môi trường thực thi hoàn toàn cách ly, cho phép triển khai môi trường thực thi tin cậy (TEE) hoặc cơ chế phân tách đặc quyền.
Phần mềm hoàn thiện: ESP32-S3 được hỗ trợ thông qua nền tảng ESP-IDF phổ biến của Espressif, nền tảng này đã vận hành hàng triệu thiết bị trên thị trường. ESP-IDF đi kèm với quy trình kiểm thử nghiêm ngặt, cập nhật thường xuyên và chính sách hỗ trợ vượt trội. Dựa trên kiến trúc phần mềm đã trưởng thành của ESP-IDF, các nhà phát triển có thể dễ dàng xây dựng ứng dụng mới hoặc di chuyển các ứng dụng của riêng họ sang nền tảng ESP32-S3 và tiếp tục làm việc với các công cụ và API tin cậy của ESP-IDF.
1.2. Lưu ý khi lựa chọn ESP32-S3
Một trong những thách thức lớn nhất đối với các kỹ sư là xác định chính xác cấu hình bộ nhớ của module ESP32-S3 thông qua mã sản phẩm.
Hầu hết các vi điều khiển hiện đại, bao gồm cả dòng ESP32, sử dụng kiến trúc bộ nhớ phân cấp. CPU hoạt động ở tốc độ cao (lên đến 240 MHz đối với ESP32-S3), nhưng dữ liệu (trọng số mô hình AI, bộ đệm khung hình) thường quá lớn để chứa trong bộ nhớ SRAM nội (SRAM on-chip). Do đó, dữ liệu phải được lưu trữ trên Flash hoặc PSRAM (Pseudo-Static RAM) bên ngoài. Khi thực hiện suy luận (inference) một mạng nơ-ron tích chập (CNN), CPU phải liên tục nạp các ma trận trọng số (weights) và bản đồ đặc trưng (feature maps) từ bộ nhớ ngoài vào thanh ghi để tính toán. Nếu băng thông của bus bộ nhớ không đủ đáp ứng tốc độ xử lý của CPU, bộ vi xử lý sẽ rơi vào trạng thái chờ (stall), gây lãng phí chu kỳ máy và giảm hiệu năng tổng thể.
ESP32-S3 được thiết kế để giải quyết bài toán này bằng cách tích hợp các hướng dẫn vector (vector instructions) vào kiến trúc Xtensa LX7 lõi kép, cho phép tăng tốc phần cứng cho các phép toán nhân-cộng ma trận. Tuy nhiên, khả năng tính toán tăng cường này càng làm trầm trọng thêm nhu cầu về băng thông bộ nhớ. Đây là lý do tại sao Espressif giới thiệu giao diện Octal SPI (OPI) trên ESP32-S3, cho phép mở rộng độ rộng bus dữ liệu từ 4 bit (QSPI) lên 8 bit, về lý thuyết nhân đôi băng thông truyền tải.
Người sử dụng lưu ý lựa chọn Octal PSRAM hoặc Octal PSRAM bên ngoài chip (trên các module) để sử dụng cho các dự án AI, xử lý ảnh để tăng hiệu năng xử lý.
II. Các Bo mạch phát triển ESP32
2.1 ESP32-S3-DevKitC-1
ESP32-S3-DevKitC-1 là bo mạch phát triển đa năng (general-purpose development board) cấp thấp, được thiết kế để người dùng có thể tiếp cận toàn diện các giao tiếp ngoại vi (I/O) của chip ESP32-S3.

Hình 2. Các thành phân bo mạch phát triển đa năng ESP32-S3-DevKitC-1 (Nguồn: https://docs.espressif.com/)
2.1.1. Cấu hình phần cứng chi tiết
- Module trung tâm: ESP32-S3-WROOM-1 hoặc ESP32-S3-WROOM-1U. Cung cấp sự linh hoạt cao về tùy chọn bộ nhớ (Flash và PSRAM có thể tùy chọn từ 0MB đến 32MB Flash / 0MB đến 8MB PSRAM), phù hợp để nghiên cứu tối ưu hóa chi phí phần cứng cho sản phẩm thương mại.
- Kết nối mở rộng (I/O Header): Hai hàng chân cắm (Pin Headers) đưa toàn bộ các chân GPIO, SPI, I2S, I2C, ADC, LCD,… ra ngoài. Đây là tính năng cốt lõi cho phép kết nối với bất kỳ cảm biến hoặc module ngoại vi nào (động cơ, relay, cảm biến môi trường) tùy theo ý tưởng thiết kế.
- Cổng USB kép (Dual USB Ports):
- USB-to-UART Port: Dùng để nạp code và debug truyền thống qua chip cầu nối (CP2102/CH340).
- ESP32-S3 USB Port: Cổng USB Native kết nối trực tiếp vào chip S3. Hỗ trợ chuẩn USB 1.1 OTG, cho phép giả lập bàn phím/chuột (HID), Mass Storage hoặc nạp code/JTAG debug trực tiếp mà không cần mạch nạp ngoài.
- Giao diện người dùng: Tích hợp RGB LED (Addressable – WS2812) điều khiển qua GPIO. Cho phép thực hành lập trình điều khiển màu sắc hoặc dùng làm đèn báo trạng thái hệ thống phức tạp.
- Phím bấm: Nút Boot và Reset vật lý để đưa chip vào chế độ nạp hoặc khởi động lại hệ thống.

Hình 3. Pin layout trên ESP32-S3-DevKitC-1 (Nguồn: https://docs.espressif.com/)
2.1.2. Mục đích sử dụng
- Tạo mẫu nhanh (Rapid Prototyping) cho mọi loại ứng dụng IoT.
- Học tập cơ bản về lập trình ngoại vi (GPIO, PWM, ADC).
- Phát triển các thiết bị USB (USB Device Development).
- Đánh giá tiêu thụ năng lượng của module WROOM.
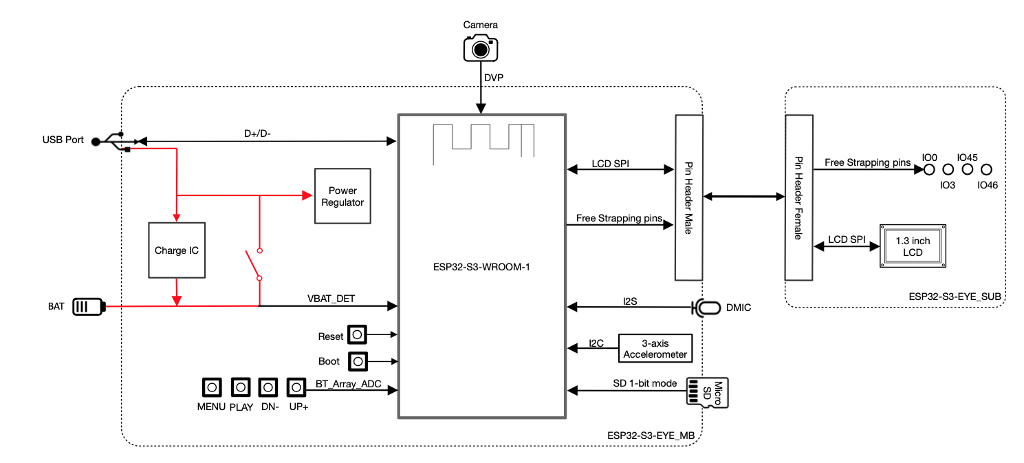
2.2 ESP32-S3-EYE
ESP32-S3-EYE là một bảng mạch phát triển (development board) nhỏ gọn do Espressif thiết kế để minh họa các khả năng AI của chip ESP32-S3.

Hình 4. Bo mạch ESP32-S3-EYE chuyên dụng cho ứng dụng Edge AI (Tích hợp Camera và Màn hình)
2.2.1. Cấu hình phần cứng chi tiết:
- Module trung tâm: ESP32-S3-WROOM-1 (tích hợp 8 MB Flash và 2 MB PSRAM hoặc 8 MB PSRAM tùy phiên bản). Tích hợp sẵn 8MB Flash và 8MB PSRAM, loại bỏ nhu cầu hàn thêm bộ nhớ, đảm bảo sự đồng nhất trong phòng Lab.
- Camera: Sử dụng cảm biến ảnh 2-Megapixel (thường là OV2640 hoặc tương đương), cho phép thu thập dữ liệu hình ảnh thời gian thực. Phục vụ tốt cho những ứng dụng thị giác máy tính.
- Màn hình: Màn hình LCD màu 1.3 inch (giao tiếp SPI), dùng để hiển thị kết quả nhận diện hoặc giao diện người dùng (GUI). trực quan dữ liệu ngay trên thiết bị, tăng tính tương tác và hứng thú.
- Âm thanh: Tích hợp microphone kỹ thuật số (I2S Digital Microphone) cho các ứng dụng nhận dạng giọng nói (Voice Wake-up/Command) và tính năng điều khiển bằng giọng nói.
- Gia tốc kế: Gia tốc kế 3 trục (QMA7981)/ Mở rộng phạm vi ứng dụng sang nhận dạng hành vi (Human Activity Recognition) dựa trên chuyển động kết hợp với hình ảnh.
- Phím bấm: Các nút Boot, Reset và các phím chức năng người dùng.

Hình 5. Sơ đồ khối ESP32-S3-EYE
2.2.2. Mục đích sử dụng:
- Phát triển Ứng dụng Thị giác Máy tính (Computer Vision)
- Xử lý Giọng nói & Tương tác Người-Máy (Voice AI & HMI)
- IoT & Giám sát Thông minh (WiFi & HMI)
- ESP32-S3-EYE V2.2 là sự lựa chọn tối ưu cho học tập và nghiên cứu EdgeAI/AIoT ở bậc đại học hiện nay. Nền tảng này đạt được sự cân bằng hiếm có giữa hiệu năng tính toán (nhờ kiến trúc Xtensa LX7 và Vector Instructions), tính tiện dụng (thiết kế All-in-One của board EYE), hệ sinh thái phần mềm (ESP-IDF/ESP-DL trưởng thành) và chi phí đầu tư (hợp lý cho quy mô lớn). Nó không chỉ là công cụ để sinh viên thực hành các bài tập lập trình, mà còn là nền tảng để họ tiếp cận tư duy thiết kế hệ thống tối ưu – kỹ năng cốt lõi của kỹ sư trong kỷ nguyên 4.0.
III. Hệ sinh thái Phần mềm ESP32-S3
Sức mạnh của phần cứng chỉ có thể được khai thác thông qua phần mềm. Espressif ESP32-S3 có được một hệ sinh thái phần mềm hỗ trợ toàn diện, giúp tối ưu hóa sức mạnh phần cứng của ESP32-S3 cho mọi cấp độ phát triển từ nghiên cứu học thuật đến triển khai công nghiệp.
- ESP-IDF (Nền tảng Cốt lõi): Framework phát triển chính thức của Espressif, cung cấp quyền kiểm soát toàn diện tài nguyên phần cứng. Đây là môi trường chuẩn công nghiệp (SDK) hỗ trợ C/C++ để khai thác tối đa hiệu năng của SoC ESP32-S3.
- ESP-DL (Tăng tốc AI Phần cứng): Thư viện Deep Learning chuyên dụng khai thác tập lệnh vector (Vector Instructions) và công nghệ SIMD trên kiến trúc Xtensa® LX7.
- Tối ưu hóa: Sử dụng thanh ghi 128-bit để tăng tốc các phép tính nhân chập (Convolution).
- Lượng tử hóa (Quantization): Hỗ trợ mô hình Int8/Int16 giúp giảm độ trễ và dung lượng bộ nhớ.
- Quản lý bộ nhớ: Cơ chế Static Memory Planner tính toán trước dung lượng RAM, tránh phân mảnh bộ nhớ (Memory Fragmentation).
- ESP-NN & TensorFlow Lite Micro (Chuẩn hóa):
-
- Tích hợp: Sử dụng các kernel ESP-NN được tối ưu hóa riêng biệt để thay thế các kernel tham chiếu mặc định của TFLM, giúp tăng tốc độ suy luận đáng kể.
- Workflow: Train (TensorFlow) -> Quantize (Int8) -> Convert (FlatBuffer/C-Array) -> Deploy (ESP32-S3).
- Arduino/MicroPython (Tạo mẫu nhanh): Lớp trừu tượng hóa phần cứng (Hardware Abstraction Layer) cao cấp. Phù hợp cho giáo dục và Rapid Prototyping nhờ thư viện đơn giản, nhưng đánh đổi bằng hiệu năng xử lý thấp hơn do overhead của trình thông dịch hoặc lớp wrapper.

Hình 6. Hệ sinh thái phần mềm hỗ trợ ESP32-S3 (ESP-IDF, ESP-DL, ESP-NN)
Tài liệu tham khảo:
Chúc các bạn thành công!
Thuong Nguyen
